361609
产品概述
品牌:国磁通GCT
品名:铁氧体磁环
产品适用线径:9.0mm
参考单重:20.7g
每箱包装数量:400 pcs
工作温度范围:-40℃ ~ 85℃
产品应用领域:游戏机、电脑,玩具、家用电器,办公设备、安监产品等
说明事项:可根据实际使用情况及线径粗细进行使用数量及绕线圈数的增加
- EMI / EMC 对策用夹扣式铁氧体磁芯 361609型 产品详细介绍资料
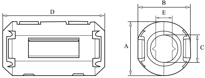
产品平面图:
产品尺寸:(mm)
A B C D E 19.5±1.00
18.0±1.00
9.0±0.8
35.0±1.0
5.5±0.8
电气特性:
AT 25MHZ
59Ω MIN
AT 100MHZ
130Ω MIN
测试仪器
HP 4191A
测试夹具
HP 4286
绕线方式
0.65T.C.W*120mm*0.5TS
测试温度
25℃
测试湿度
65%
参考单重:
20.7g
抽测数据:
项目
AT 25MHZ
AT 100MHZ
A B C D E 参考值
59Ω min
130Ω min
19.5±1.00
18.0±1.00
9.0±0.8
35.0±1.0
5.5±0.8
1 64.38
182.85
19.42
18.78
8.89
35.21
5.42
2 65.13
179.63
19.51
18.65
8.92
35.33
5.36
3 63.29
188.42
19.41
18.82
8.88
35.24
5.42
4 64.96
195.51
19.39
18.73
8.95
35.27
5.38
5 65.55
186.65
19.52
18.81
8.93
35.26
5.43
x-bar
64.66 186.61 19.45 18.76 8.91 35.26
5.40 R 2.26 15.88 0.13 0.17 0.12 0.12 0.07
参考的曲线图:
材料特性:
初始磁导率 µi±30%
800
矫顽力HC(A/m)
20
居里温度Tc (℃)
>110
比损耗因子 Tan ð/µi x 10-6
16(0.1MHz)
电阻率ρ(Ω•m)
>105
比温度系数 ɑ ð/γ x10-6
5-10
饱合磁通密度 Bs (MT)
350(1600A/m)
使用范围F MHz
1-1000
剩磁 Br (MT)
200
密度d g/cm3
4.7
构成主要成分:成份
CAS 編號
EC 编号
比率
Fe2O3
1309-37-1
215-168-2
55.5%~73.5%
ZnO
1314-13-2
215-222-5
14%~22%
MgO
1309-48-4
215-171-9
1%~9%
MnCO3
598-62-9
209-942-9
1%~15%
CuO
1317-38-0
215-269-1
1%~8%

