361407
产品概述
品牌:国磁通GCT
品名:铁氧体磁环
产品适用线径:8.5mm
参考单重:23.9g
每箱包装数量:350 pcs
工作温度范围:-40℃ ~ 85℃
产品应用领域:游戏机、电脑,玩具、家用电器,办公设备、安监产品等
说明事项:可根据实际使用情况及线径粗细进行使用数量及绕线圈数的增加
- EMI / EMC 对策用夹扣式铁氧体磁芯 361407型 产品详细介绍资料
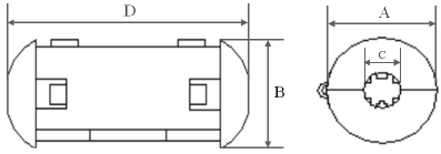
产品平面图:
产品尺寸:(mm)
A B C D 20.0±1.00
20.0±1.00
8.5±1.0
39.0±1.0
电气特性:
AT 25MHZ
93Ω MIN
AT 100MHZ
208Ω MIN
测试仪器
HP 4191A
测试夹具
HP 4286
绕线方式
0.65T.C.W*120mm*0.5TS
测试温度
25℃
测试湿度
65%
参考单重:
23.9g
抽测数据:
项目
AT 25MHZ
AT 100MHZ
A B C D 参考值
93Ω min
208Ω min
20.0±1.00
20.0±1.00
8.5±1.0
39.0±1.0
1 133.51
272.21
20.15
20.32
8.48
39.06
2 128.65
265.14
20.13
20.25
8.51
39.03
3 145.53
255.38
20.17
20.19
8.55
39.15
4 139.46
274.49
20.09
20.33
8.49
39.06
5 129.15
277.63
20.18
20.28
8.51
39.02
x-bar 135.26 268.97 20.14 20.27 8.51
39.06 R 16.88 22.25 0.09 0.14 0.07 0.13
参考的曲线图:
材料特性:
初始磁导率 µi±30%
800
矫顽力HC(A/m)
20
居里温度Tc (℃)
>110
比损耗因子 Tan ð/µi x 10-6
16(0.1MHz)
电阻率ρ(Ω•m)
>105
比温度系数 ɑ ð/γ x10-6
5-10
饱合磁通密度 Bs (MT)
350(1600A/m)
使用范围F MHz
1-1000
剩磁 Br (MT)
200
密度d g/cm3
4.7
构成主要成分:
成份
CAS 編號
EC 编号
比率
Fe2O3
1309-37-1
215-168-2
55.5%~73.5%
ZnO
1314-13-2
215-222-5
14%~22%
MgO
1309-48-4
215-171-9
1%~9%
MnCO3
598-62-9
209-942-9
1%~15%
CuO
1317-38-0
215-269-1
1%~8%

